2024年1月23日
热电阻和热点偶温度传感器校验实验系统
SBJYD-R6热电阻和热点偶温度传感器校验实验系统
一、概述
目前,测量温度都采用间接测量的方法。它是利用一些材料或元件的性能随温度而变化的特性,通过测量该性能参数,而得到被测温度的大小。用以测量温度特性的有:材料的热膨胀、电阻、热电动势、导磁率、介电系数、光学特性、弹性等等,其中前三者尤为成熟,获得广泛的应用。热电阻和热电偶温度传感器结构简单、易于制造和测温范围宽,因而应用最为广泛。但是热电阻和热电偶受到材料、温度、接线方式以及其他环境因素影响,从而影响了温度测量精度。为此需要进行校正。本实验台结构简单,性能可靠,适用于学生进行热工实验,也可以应用于科研及生产厂家的产品质量检验。

二、实验目的
了解热电阻和热电偶温度计的测温原理
学会热电偶温度计的制作与校正方法
了解二线制、三线制和四线制热电阻温度测量的原理
掌握电位差计的原理和使用方法
了解数据自动采集的原理
应用误差分析理论于测温结果分析。
三、实验原理
1、热电阻
(1)
热电阻原理
热电阻是中低温区最常用的一种温度检测器。它的主要特点是测量精度高,性能稳定。其中铂热是阻的测量精确度是最高的,它不仅广泛应用于工业测温,而且被制成标准的基准仪。热电阻测温是基于金属导体的电阻值随温度的增加而增加这一特性来进行温度测量的。热电阻大都由纯金属材料制成,目前应用最多的是铂和铜,此外,现在已开始采用镍、锰和铑等材料制造热电阻。常用铂电阻和铜电阻,铂电阻在0-630.74℃以内,电阻Rt与温度t的关系为:Rt=R0(1+At+Bt2)R0系温度为0℃时的电阻,铂电阻内部引线方式有两线制,三线制,和四线制三种,两线制中引线电阻对测量的影响最大,用于测温精度不高的场合,三线制可以减小热电阻与测量仪之间连接导线的电阻因环境温度变化所引起的测量误差。四线制可以完全消除引线电阻对测量的影响,用与高精度温度检测。本实验是三线制连接,其中一端接二根引线主要是消除引线电阻对测量的影响。
(2)
热电阻的校验
热电阻的校验一般在实验室中进行,除标准铂电阻温度计需要作三定点,(水三相点,水沸点和锌凝固点)校验外,实验室和工业用的铂或铜电阻温度计的校验方法有采用比较法两种校验方法。比较法是将标准水银温度计或标准铂电阻温度计与被校电阻温度计一起插入恒温水浴中,在需要的或规定的几个稳定温度下读取标准温度计和被校验温度计的示值并进行比较,其偏差不超过最大允许偏差。在校验时使用的恒温器有冰点槽,恒温水槽和恒温油槽,根据所校验的温度范围选取恒温器。比较法虽然可用调整恒温器温度的方法对温度计刻度值逐个进行比较校验,但所用的恒温器规格多,一般实验室多不具备。因此,工业电阻温度计可用两点法进行校验,即只校验R0与R100/
R0两个参数。这种校验方法只需要有冰点槽和水沸点槽,分别在这两个恒温槽中测得被校验电阻温度计的电阻R0
和R100,然后检查R0
值和R100/R0
的比值是否满足规定的技术数据指标,以确定温度计是否合格。
(3)
热电阻的类型
1)普通型热电阻。从热电阻的测温原理可知,被测温度的变化是直接通过热电阻阻值的变化来测量的,因此,热电阻体的引出线等各种导线电阻的变化会给温度测量带来影响。
2)铠装热电阻。铠装热电阻是由感温元件(电阻体)、引线、绝缘材料、不锈钢套管组合而成的坚实体,它的外径一般为φ2--φ8mm。与普通型热电阻相比,它有下列优点:①体积小,内部无空气隙,热惯性上,测量滞后小;②机械性能好、耐振,抗冲击;③能弯曲,便于安装④使用寿命长。
3)端面热电阻。端面热电阻感温元件由特殊处理的电阻丝材绕制,紧贴在温度计端面。它与一般轴向热电阻相比,能更正确和快速地反映被测端面的实际温度,适用于测量轴瓦和其他机件的端面温度。
4)隔爆型热电阻。隔爆型热电阻通过特殊结构的接线盒,把其外壳内部爆炸性混合气体因受到火花或电弧等影响而发生的爆炸局限在接线盒内,生产现场不会引超爆炸。隔爆型热电阻可用于Bla--B3c级区内具有爆炸危险场所的温度测量。
2、热电偶
(1)
热电偶原理
将两种不同材质的金属导线连接成闭合回路,如果两接点的温度不同,由于金属的热电效应,在回路中就会产生一个与温差有关的电动势,称为温差电势。在回路中串接一毫伏表,就能粗略地测出温差电势值。如图1:
图1
热电偶原理

图1
热电偶原理
温差电势的大小只与两个接点的温差有关,与导线的长短粗细和导线本身的温度分布无关。这样一对导线的组合就称热电偶温度计。简称热电偶。
实验表明,在一定温度范围,温差电势E与两接点的温度T0,
T存在着函数关系E=F(T0 , T), 如果一个接点T0(通常指冷端)的温度保持不变,则温差电势就只与另一个接点T(通常指热端)的温度有关,即E=F(T)
,当测得温差电势后,即可求出另一个接点(热端)的温度。
(2)
热电偶的标定
将热电偶做为温度计,必须先将热电偶的温差电势与温度值T之间的关系进行标定。一般不用内插式计算,而是用实验方法,用表格或T-E(或E-T)特性曲线形式表示。标定方法,一般采用:
1)固定点法,即测量已知沸点或熔点温度的标准物质在沸点或熔点时的温差电势值。
2)标准热电偶法,将待标热电偶与标准热电偶一起置于恒温介质中,逐点改变恒温介质的温度,待热电偶处于热平衡状态下测出每一点的温差电势。热电偶的T-E特性曲线如下图3:
图3
热电偶T-E 特性曲线

(3)
热电偶的分类
热电偶的种类繁多,各有其优缺点。可根据不同的用途选择不同型号的热电偶。目前我国已经标准化的常用商品热电偶,有以下几种
|
热电偶分类 |
型号 |
新分度号 |
旧分度号 |
使用温度0C |
|
长期 |
短期 |
|
铁-康铜 |
/ |
J |
TK |
400 |
800 |
|
镍铬-镍硅 |
WREU |
K |
EU-2 |
1000 |
1300 |
|
铜-康铜 |
WRCK |
T |
CK |
600 |
800 |
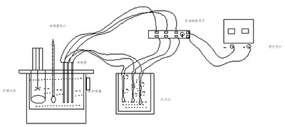
四、实验装置
热电偶实验装置主要由恒温水浴、电位差计、热电偶、热电阻、冰点仪、数据采集装置、低电势转换开关和标准玻璃温度计等组成。恒温水浴上具有搅拌、加热与温度控制装置,可根据要求将温度稳定在设定值附近。采用标准玻璃温度计测量的温度作为标准温度,用于校准热电偶和热电阻。

图4
热电偶采集与校验原理图

图5热电阻自动采集与校验装置图
五、试验台功能
对热电阻和热电偶温度计进行标定和校准。
热电阻接线方式可以采用二线制、三线制和四线制热电阻接线。
热电偶K、J、T三种,电动势可以采用电位差计手动测量,也可以通过计算机自动测量。
每次可进行多个热电偶或者热电阻测量。
对于自动测试系统,采集通过计算机数据自动处理,可以多画面显示测量结果,自动进行分析。
六、试验台特点与技术指标
具有手动与自动测试功能,测试过程具有直观、快速、准确、方便;
系统采用恒温水浴,温度波动度小于±0.5℃,温度测量范围为0-100℃。
对于自动测试,数据采集装置采用高精度采集卡。
检定结果不确定度:热电偶:小于0.2℃;热电阻:小于0.05℃
|
PLC编程控制实训设备、单片机实验室、计算机原理实验室设备、工业自动化实验台
更多产品>> |
|
机电一体化综合实训考核系统 |
|
自动控制理论及计算机控制技术实验装置 |
|
工业互联网工程技术实训设备 |
|
电气自动化技术考核实训装置 |
|
自动控制原理实验装置 |
|
创新模块化自动生产线实训系统 |
|
PLC设备安装调试实验实训系统 |
|
工业运动控制技术实训台 |
|
电气控制与PLC控制实验装置 |
|
电气控制系统综合实训设备 |
|
可编程控制器实训装置 |
|
电气自动控制电路装调维修考核装置 |
|
机电一体化与工业网络高级应用实训平台 |
|
工业控制技术教学与考核平台 |
|
模块化柔性生产线实训系统(八站) |
|
柔性灌装自动化生产线实训系统 |
|
MES网络型模块式柔性自动化生产线实训设备 |
|
运动控制综合实训装置 |
|
六工位PLC可编程控制器实训台 |
|
机电一体化综合创新教学平台 |
|
机电一体化综合实训考核设备 |
|
PLC可编程控制器、触摸屏、变频器 伺服控制实训平台 |
|
PLC可编程技术综合实训装置 |
|
PLC可编程控制实训设备 |
|
网络型可编程控制器综合实训装置 |
|
可编程控制器S7-1200综合实训设备 |
|
网络型PLC可编程控制器综合实训装置( PLC+ 变频 + 电气控制 + 触摸屏) |
|
可编程控制器S7-1500综合实训设备 |
|
网络型PLC可编程控制器综合实训装置(PLC+变频+电气控制+触摸屏) |
|
西门子1214C网络型可编程控制器综合实训装置 |
|
网络型PLC可编程控制技术综合实训装置(PLC、变频器、触摸屏) |
|
网络型PLC实训装置,PLC控制+变频+触摸屏+步进+伺服 |
|
电气实训操作台(PLC+变频+电气控制+触摸屏) |
|
电气与PLC可编程控制综合实训装置 |
|
PLC可编程控制器综合实训装置 |
|
可编程控制综合实训装置 |
|
PLC可编程控制器实训装置 |
|
PLC可编程控制器实训装置 |
|
自动化控制技能实训台 |
|
物联网综合应用实训系统 |
|
物联网工程综合应用实训装置 |
|
物联网智能家居实训系统 |
|
PLC实训台 |
|
电气控制PLC实训台 |
|
可编程控制器、单片机综合实训装置 |
|
机电一体化实训平台 |
|
电气控制与PLC技术一体化实训设备 |
|
可编程技术实训设备 |
|
单片机技术应用实训考核装置 |
|
PLC控制技术与组态技术实训装置 |
|
单片机技术实训装置 |
|
单片机应用创新实验平台 |
|
单片机控制功能实训考核装置 |
|
单片机技术应用实训考核装置 |
|
PLC可编程控制器实验装置 |
|
PLC控制及变频驱动技术教学实训装置 |
|
可编程控制器综合实训装置(PLC+变频+电气控制+触摸屏)S7-1200 |
|
PLC综合控制实训装置 |
|
电机装配与运行检测实训平台 |
|
网络型PLC可编程控制器综合实训装置(PLC+变频+电气控制+触摸屏) |
|
网络型可编程控制器实验装置(三菱) |
|
工业网络控制实训装置 |
|
工业机械传动装调实训平台 |
|
工业数字化网络综合实训平台 |
|
工业运动控制技术实训装置 |
|
工业运动控制技术实训台 |
|
立体仓库实物教学实训装置 |
|
单片机控制二维运动实训设备 |
|
西门子工业控制与PLC综合实训平台 |
|
PLC可编程控制器实验箱 |
|
可编程控制器(S7-200SMART)实验室设备 |
|
西门子S7-1500实训设备,PLC+变频+电气控制+触摸屏 |
|
工业网络与组态实训装置 |
|
可编程电气控制综合实训装置 |
|
PLC网络综合实验平台 |
|
PLC可编程控制器综合实训装置(欧姆龙) |
|
可编程控制器实训装置 |
|
可编程变频器及电气控制综合实训装置 |
|
工业自动化通信网络实验平台 |
|
工业自动化综合实训装置 |
|
工业控制综合实训装置 |
|
工业自动化通信网络实验台 |
|
可编程控制器自动化教学装置 |
|
变频技术实验设备 |
|
工学结合PLC实训台 |
|
(三菱PLC)综合实训装置 |
|
西门子PLC控制综合实训装置 |
|
PLC可编程变频调速综合实训装置 |
|
PLC单片机变频调速综合实训装置 |
|
PLC、变频器、电气控制、触摸屏实训装置 |
|
cr40plc可编程控制器综合实训装置 |
|
PLC实训装置 |
|
SB-PLC2可编程控制实验装置 |
|
可编程控制实验装置及单片机综合实验台 |
|
可编程控制器、单片机、自动控制原理综合实验台 |
|
PLC试验台、PLC实验实训考核设备 |
|
PLC变频器、伺服驱动器、步进电机驱动器实训装置 |
|
工业自动化通讯网络实训系统 |
|
网络型PLC可编程控制实验装置 |
|
PLC可编程控制实训装置PLC+电气控制 |
|
网络型PLC可编程控制器综合实训装置 |
|
PLC变频器触摸屏培训设备 |
|
调速PLC可编程控制综合实训装置 |
|
PLC可编程控制器实验台(三菱FX3U-48MR、变频、触摸屏) |
|
PLC可编程控制器、单片机开发应用及电气控制综合实训装置 |
|
可编程控制器实训装置 |
|
单片机应用综合实训平台 |
|
PLC单片机实训台 |
|
单片机控制技术实训平台 |
|
单片机可编程控制综合实验装置 |
|
单片机技术开发平台 |
|
单片机开发综合实验装置 |
|
单片机开发应用技术综合实验装置 |
|
单片机控制技术实训平台 |
|
创新型单片机和EDA设计综合实验开发装置 |
|
单片机•CPLD/FPGA开发综合实验装置 |
|
AB自动化控制实训装置 |
|
单片机控制功能实训考核装置 |
|
单片机开发系统、自动控制原理综合实验装置 |
|
网络型可编程控制器(1500 PLC)实验装置 |
|
PLC可编程控制器实验装置 (PLC+伺服+变频器+电气控制+触摸屏) |
|
工业数字化网络综合实训平台 |
|
单片机应用实训考核装置 |
|
单片机应用创新实验平台 |
|
单片机技术应用实训考核装置 |
|
网络型可编程控制器(1200 PLC)实验装置 |
|
网络型PLC可编程控制器、自动控制原理综合实验装置 |
|
PLC单片机变频器触摸屏实训台 |
|
PLC可编程控制技术综合实训装置(PLC、变频器) |
|
网络型PLC可编程控制/微机接口及微机应用综合实验装置 |
|
网络型PLC可编程控制器综合实训装置(PLC+变频ABB+电气控制+触摸屏) |
|
网络型PLC可编程控制器综合实训装置(PLC+变频+电气控制+触摸屏) |
|
网络型PLC可编程控制器、变频调速、触摸屏、电气控制及单片机实验开发系统综合实验装置 |
|
网络型PLC可编程控制器、变频调速、触摸屏、电气控制及微机接口与微机应用综合实验装置 |
|
可编程控制系统实训平台 |
|
PLC实验实训台 |
|
PLC可编程控制实验及单片机实验开发系统综合实验装置 |
|
PLC可编程控制系统、单片机实验开发系统、自动控制原理综合实验装置 |
|
PLC可编程控制系统、微机接口及微机应用综合实验装置 |
|
计算机装调与维修技能鉴定装置 |
|
计算机组装与维护实训装置 |
|
信号与系统·控制理论·计算机控制技术实验台 |
|
单片机实训箱、
可编程控制器实验箱 |
|
工业机器人综合应用实训平台 |
|
工业机器人多功能实训台(ABB带视觉) |
|
工业机器人循环生产线实训装备 |
|
工业机器人基础实训设备(ABB机器人系统) |
|
工业机器人拆装与调试实训台 |
|
机器人应用实训室设备 |
|
工业机器人多功能实训平台 |
|
工业自动化实训平台 |
|
PLC可编程控制器综合实验装置 |
|
数字化工业控制实训平台 |
|
工业电气自动化及电工技能考核实训平台 |
|
可编程工业控制实训平台 |
|
PLC综合实训台 |
|
三菱FX3G-40MR光机电一体化实训考核装置 |
|
西门子S7-1200光机电一体化实训考核装置 |
|
PLC可编程控制器综合实训装置 |
|
工业自动化综合实训装置 |
|
工业自动化综合实训装置(PLC+变频器+触摸屏+单片机) |
|
工业全数字直流调速系统综合实训装置 |
|
变频调速系统开发平台 |
|
变频器工作原理实训设备 |
|
变频调速技术实训装置 |
|
交直流调速实训装置 |
|
工业电气综合实训装置 |
|
工业自动化控制一体化实训室设备 |
|
工业自动化综合实训装置 |
|
工业自动化综合实训装置(PLC+变频器+触摸屏+单片机) |
|
工业自动化综合实训装置(西门子) |
|
工业控制创新实训平台 |
|
自动化生产线实训室设备 |
|
工业全数字控制实训装置 |
|
工业自动化综合实验考核装置 |
|
工业电气自动化及电工电子技能考核实训平台 |
|
工业运动控制技术实训台 |
|
网络型plc综合实验平台 |
|
工业控制与plc综合实训平台 |
|
工业自动化网络控制平台 |
|
可编程控制器(西门子)综合实训室 |
|
可编程控制器(三菱)综合实训室设备 |
|
液压传动实验台、液压PLC实验台、气动液压PLC实验台、电梯模型、智能建筑实验室设备 更多产品>> |
|
工业液压与PLC控制实训装置 |
|
液压与气压传动综合实训装置(工业型) |
|
液压与气动工程技术实训台 |
|
透明液压传动与PLC控制实训装置 |
|
气动PLC控制实训装置 |
|
液压与气压传动(轧钢机)综合实训装置 |
|
液压传动测试实验台 |
|
工业型液压综合实验台 |
|
PLC控制液压与气动综合实训装置 |
|
液压元件拆装实训装置 |
|
液压与气压传动综合实训装置 |
|
液压气动PLC控制综合实训装置 |
|
实验教学用液压实验台(可视型) |
|
多功能气动教学实验台 |
|
液压气压传动与控制实训操作平台 |
|
透明液压传动与PLC实训装置 |
|
液压与气压PLC控制综合实训装置 |
|
透明液压与气动PLC控制综合实训装置(软件控制) |
|
透明液压传动与PLC控制实训装置 |
|
液压挖机与人机界面实训装置 |
|
PLC透明液压回路试验台 |
|
透明液压与气压传动综合实训装置(PLC控制、液压气动二合一) |
|
液压传动与PLC实训装置(工业型单面) |
|
PLC控制透明液压与气动综合实训装备 |
|
液压装载机实训系统 |
|
液压挖掘机实训系统 |
|
气动机械手实训考核装置 |
|
双面电气动PLC控制实训装置 |
|
气动传动实验台 |
|
液压传动基础实训箱 |
|
气动实训箱 |
|
基本液压传动实验台 |
|
液压传动实训台装置 |
|
气动机械手实训模型 |
|
透明液压传动与PLC实训装置 |
|
机电液气一体化实训平台 |
|
液压传动技术实验台 |
|
液压元件拆装实训台(实物) |
|
液压传动教学装置 |
|
气动实训教学装置 |
|
双面透明液压传动技术教学装置 |
|
透明液压传动演示系统 |
|
液压传动实验台 |
|
透明液压传动与PLC实训装置 |
|
透明液压PLC控制实训装置 |
|
气动PLC控制实训装置 |
|
透明液压与气动传动综合实训装置 |
|
多功能气动教学实训台 |
|
工业型液压综合实验台 |
|
PLC控制液压与气动综合实训装置(工业型) |
|
透明液压传动与PLC控制实训装置 |
|
透明气动PLC控制实训装置 |
|
液压控制综合实训装置 |
|
气动控制综合实训装置 |
|
四合一透明液压传动演示系统 |
|
液压与气压实验台 |
|
透明液压传动与PLC实训装置(铝合金框架) |
|
叉车液压系统实训台 |
|
挖掘机液压系统与PLC控制实训装置 |
|
透明液压PLC控制实验装置(挖掘机液压试验台) |
|
液压挖掘机实训装置 |
|
起重机械实训装置 |
|
装载机液压系统与PLC控制实训装置 |
|
起重机液压系统与PLC控制实训装置 |
|
液压与气压传动PLC综合实训装置(工业型) |
|
液压传动与PLC实训装置(工业型单面) |
|
透明装载机实训台 |
|
透明挖掘机实训台 |
|
多媒体工程制图设计实验室设备 |
|
多功能升降式实用绘图桌 |
|
工程制图实验室设备 |
|
建筑工程制图实训室-土木工程实训室 |
|
钳工技能实训平台(六工位) |
|
六角钳工技能实训台 |
|
钳工技能实训考核平台 |
|
钳工职业技能等级鉴定考核装置 |
|
钳工实验室成套设备 |
|
焊工、铆工实操室成套设备 |
|
焊接多功能实训实验室成套设备 |
|
钳工实训室简介、钳工实训工作台 |
|
机电一体化实验室设备、教学数控车床、教学数控铣床、透明电机模型、变压器模型 更多产品>> |
|
光机电一体化控制实训系统 |
|
机电一体化实训装置 |
|
自动生产线拆装与调试实训装置 |
|
机电一体化实训装置 |
|
工业自动化综合实训装置 |
|
煤矿自动化控制实训平台 |
|
机电一体化综合实训考核设备 |
|
基于PLC机电一体化实训平台 |
|
自动化生产线实训考核装备 |
|
光机电气一体化控制实训平台 |
|
机电一体化综合实训实验系统 |
|
机电一体化系统综合实训平台 |
|
机电一体化综合系统实训装置 |
|
数字化工业机器人柔性生产线实训平台 |
|
MES网络型模块式柔性自动化生产线实训系统 |
|
MPS模块式柔性自动化生产线实训系统(六站) |
|
灌装自动化生产线实训装置,机电一体化技师实训考核装置 |
|
光机电一体化实训考核装置(六轴工业机器人) |
|
工业机械手实训装置 |
|
机电一体化综合实训考核系统 |
|
机电一体化综合系统实训设备 |
|
光机电一体化实训考核装置 |
|
自动化生产线实训考核平台 |
|
自动生产线实训装置 |
|
智能控制技术实训台 |
|
自动化控制技术实训装置 |
|
智能机电一体化综合实训考核设备 |
|
机电一体化综合实训系统 |
|
光机电气一体化实训装置 |
|
电机故障诊断与维修检测实训考核装置 |
|
机床电路实训考核设备 |
|
机床电路实训设备 |
|
机床电气线路(四合一)考核实训装置 |
|
机床电气控制实训装置(柜式双面、四合一、四种机床) |
|
机电一体化综合实训室设备、机电液气一体化实训平台 |
|
数控设备维修实验室设备、数控机床电气故障检测实训台 |
|
机电技术综合实训考核装置 |
|
光机电一体化实训考核装置 |
|
物料分拣实训装置 |
|
煤矿培训自动化试验台 |
|
自动生产线实训考核装置 |
|
工业自动生产线实训装置 |
|
机电一体化综合实训考核装置 |
|
光机电一体化实训室设备、自动生产线实训室设备 |
|
柔性自动化生产线实训系统(六站) |
|
机电气液一体化综合实训装置 |
|
数控机床实训室,数控机床实训室设备 |
|
3D虚拟机床及机床线路实训装置 |
|
机床电气控制技术实训台 |
|
网络化智能型机床电气技能实训考核装置 |
|
机床智能实训考核装置 |
|
机床电气培训考核实验装置 |
|
网孔型万能机床电路实训考核鉴定装置 |
|
数控铣床装调与维修考核实训设备 |
|
数控车床电气控制与维修实训考核装置 |
|
多系统数控机床虚实一体训练机 |
|
机床电气实训智能考核装置(五种机床) |
|
数控机床维修实训设备电气控制柜 |
|
数控车床电气安装与调试实训设备 |
|
车床综合维修考核装置(各种系统) |
|
精密双轴十字滑台实训设备 |
|
数控铣床装调与维修实训台 |
|
数控车床装调与维修实训台 |
|
数控加工中心实验室设备 |
|
数控加工中心装调与维修考核实训设备 |
|
数控车床装调与维修考核实训设备(GSK980TDi) |
|
数控铣床装调与维修考核实训设备(广数GSK-980MDi) |
|
数控车床维修综合实训台、数控铣床维修综合实训台 |
|
电工技能实训考核柜 |
|
机床电气控制技术及工艺实训考核装置(网孔板) |
|
数控车铣复合机床、五轴五联动数控加工中心、五轴数控加工中心虚实一体训练机 |
|
SINUMERIK 840DSL 五轴数控加工中心虚实一体训练机 |
|
多系统数控机床虚实一体训练机 |
|
五轴数控加工中心虚实一体训练机 |
|
数控机床故障诊断与维修实训装置 |
|
步进电机交流伺服电动机驱动系统实验装置 |
|
光机电气一体化控制实训设备 |
|
光机电气一体化实训设备 |
|
光机电一体化控制实训装置 |
|
自动化生产线实训平台 |
|
智能制造人才综合实训室建设方案 |
|
机电一体化柔性生产线加工系统 |
|
MPS模块式柔性自动化生产线实训系统(六站) |
|
智能型万能机床电气实训考核鉴定装置 |
|
变压器/电机控制综合实验装置 |
|
电机性能综合测试装置 |
|
电机与变压器维修实训设备 |
|
电机变压器维修及检测实训装置 |
|
电机故障诊断与维修检测实训考核装置 |
|
电机电控配线安装装置 |
|
机床电气控制实训装置 |
|
电机装配工技能实训装置 |
|
电机检修技能实训装置 |
|
电机拆装与维修实训台 |
|
模拟机床电气故障排除实训装置 |
|
机电一体化生产线实训设备 |
|
电气控制及PLC变频器电机实训装置 |
|
智能型四合一机床电气控制实训台 |
|
智能型四合一机床电气控制技能实训考核鉴定装置 |
|
龙门刨床电气技能实训考核装置 |
|
交流桥式起重机实训考核设备 |
|
Z3040B摇臂钻床电气技能实训考核装置 |
|
C650-2普通车床电气技能实训考核装置 |
|
Z3050摇臂钻床电路智能实训考核台 |
|
C6140普通车床电气技能实训考核装置 |
|
M7120平面磨床电气技能实训考核装置 |
|
T68镗床电气技能实训考核装置 |
|
X62W万能铣床电气技能实训考核装置 |
|
智能机床电路实训考核装置 |
|
空间及平面机构综合实验台
更多产品>> |
|
钳工技能实训考核平台
|
|
工业机械传动装调实训平台
|
|
机械传动装调综合实训平台
|
|
机构运动创新设计方案拼装及仿真实验台
|
|
机械基础实训室设备,机械设计实训设备,机械传动实训台 |
|
五金冲压模、拆装模具、铝合金拆装实训模具、注塑模具、冲孔模、级进模、复合模
|
|
机械基础综合实验室、机械设计实验室 |
|
机构创新组合设计实验台 |
|
机械运动创新方案拼装实验台 |
|
便携式机械系统传动创新组合设计实验台 |
|
零件尺寸误差测量组合实训装置 |
|
零件形位误差测量组合实训装置 |
|
《几何体》实测绘图训练装置 |
|
《典型零件》实测绘图训练装置 |
|
《标准零件》实测绘图训练装置 |
|
《联接与配合》实测绘图训练装置 |
|
《千斤顶》实测绘图训练装置 |
|
《台虎钳》实测绘图训练装置 |
|
《齿轮泵》实测绘图训练装置 |
|
《减速器》实测绘图训练装置 |
|
测绘用装配体、齿轮泵、阀体及机件模型 |
|
减速器拆装教学模型 |
|
滚齿机教学模型 |
|
教学用插齿机实验台 |
|
轮系创新设计拼装及仿真实验台 |
|
机械传动方案优化综合测试实验台 |
|
曲柄滑块导杆凸轮机构实验台 |
|
螺栓与螺栓组联接综合实验台 |
|
创意组合机械系统装配训练综合实验平台 |
|
带传动效率测试分析实验台(基础型) |
|
液体动压滑动轴承实验台 |
|
便携式机械系统传动创新组合设计实验台 |
|
机械设计制造实训设备,自动化专业实训装置 |
|
曲柄导杆滑块凸轮测试实验装置 |
|
齿轮传动测试分析实验装置 |
|
链条与万向节传动测试实验装置 |
|
机械系统集成及参数可视化分析实验台 |
|
机械传动创意组合测试实验台 |
|
A型机械传动方案创意组合及参数分析实验台 |
|
B型机械传动方案创意组合及参数分析实验台 |
|
自动化夹具综合实验台 |
|
车刀量角仪 |
|
齿轮范成仪 |
|
四杆机构创客系统,零件搭接类实训设备 |
|
机械元件陈列柜 |
|
电机与变压器声动同步CD解说示教陈列柜 |
|
机械基础声动同步CD解说示教陈列柜 |
|
机械运动简图的测绘及分析实验模型 |
|
机械零件20教陈列柜 |
|
减速器声动同步CD解说示教陈列柜 |
|
机械原理声动同步CD解说示教陈列柜 |
|
机械制图16型陈列柜 |
|
模具示教陈列柜 |
|
金属切削示教陈列柜 |
|
金属工艺学CD解说示教陈列柜 |
|
公差配合陈列柜
|
|
钳工工艺学陈列柜 |
|
金属刀具陈列柜 |
|
机床夹具设计陈列柜 |
|
机械综合陈列柜《机械原理》《机械零件》《减速器》 |
|
车工工艺学陈列柜 |
|
机械设计基础陈列柜 |
|
机械设备拆装实训台 |
|
大型量具陈列柜 |
|
《机械创新设计》示教陈列柜 |
|
气动液压示教陈列柜 |
|
机械原理实训设备,机械创新实训装置,机械设计实训设备,机械传动实训设备 |
|
机械装调技术综合实训装置 |
|
机械制图模型,机械制图教学模型 |
|
机械制图立体示教模型、测绘模型画法几何投影箱 |
|
《机械基础》(中国劳动社会保障劳动版) |
|
机械设计拆装实验室,机械设计实验室 |
|
公差与检测技术实训室 |
|
机械系统搭接装配训练实验台 |
|
透明电动机实训教学模型、变压器教学模型 |
|
减速器拆装实验室,拆装实验用大型减速器教学模型(全铝制) |
|
机械装调技术综合实训装置 |
|
机械运动创新设计搭接实验台 |
|
机械机构基础实验台、机构创新实验台、动平衡原理实验台、轴系结构实验箱、机构搭接测试实验台、齿轮范成 |
|
透明五金冲压模拟机、透明液压注塑机演示模型、透明注塑成型模拟机、铝合金模具拆装模型 |
|
机械装调技术综合实训装置、机械设备装调与控制技术实训装置、机械装配技能综合实训平台 |
|
机械制图模型,机械机构模型,机械零件模型,机械原理模型,部件模型 |
|
电机及电子专业实训室、电工技术实训室 |
|
电工电子技能综合实训考核平台 |
|
电工电子技术综合实训考核装置 |
|
电工基础与技能实训考核装置 |
|
电工技术综合实验平台 |
|
电工技术综合实训装置 |
|
电工技术实训网板 |
|
电子工艺实训台(两面4工位) |
|
电子技术综合实训考核设备 |
|
电子技术综合实验装置 |
|
数模电综合实训平台 |
|
电气自动化设备安装与维修实训考核平台 |
|
国电供电所装表接电实训装置 |
|
智能型装接表电工实训系统 |
|
电工技能实训考核柜 |
|
直流调速(调压)实训控制柜 |
|
电气工程与自动化实训室设备 |
|
化工自动化仪表实训平台 |
|
电工·电子技术实训装置 |
|
电气控制实训装置(单面双组型) |
|
电气装调实训装置 |
|
电气装配与调试实训平台 |
|
仪表自动化控制综合实训台 |
|
初中高级维修电工实训考核装置 |
|
高性能高级维修电工及技能培训考核实训装置 |
|
维修电工电气控制及仪表照明电路实训考核装置 |
|
电工电子电拖综合实验装置 |
|
电工培训考核装置 |
|
电机拖动及运动控制综合实验台 |
|
机电技术技能实训考核装置 |
|
电机控制与调速实训装置 |
|
电机与电气控制实训台 |
|
楼宇智能化控制系统平台 |
|
电气技能实训考核装置 |
|
电工电气装配与工艺实训台 |
|
电机与电力拖动实训装置 |
|
维修电工技能实训考核装置(网孔板、单面双组型) |
|
电工电子及电机拖动综合实训平台 |
|
电工电子电力拖动技术实验装置 |
|
电工技能实训与考核装置 |
|
电工技术实训台 |
|
电工技术实验装置 |
|
电工电子电力拖动实验与技能实训台 |
|
电工综合实训考核设备 |
|
高级电工实训台 |
|
电工电子综合实验台 |
|
智能型电工电子拖动综合实验装置(带PLC实验) |
|
电子技术创新设计综合应用实训装置 |
|
电子焊接实训考核装置 |
|
电子工艺与检测实训平台 |
|
电子产品装配实训台 |
|
电子装配实训台 |
|
电子技术实验装置 |
|
高级电工电子技术实验装置 |
|
高性能电工电子电拖综合实训装置 |
|
电子技术综合实验装置 |
|
电子电路综合实验实训装置 |
|
电子电工基础实验台、通用电工实验装置 |
|
电工基础实验装置 |
|
电气控制技术实训考核装置 |
|
电气控制及电子技能实训考核装置 |
|
内外线电气安装与维修实训装置 |
|
网孔型电工技能及工艺实训考核装置(单面、双组) |
|
电工技能实训考核平台 |
|
电工电子技能及创新设计综合实训考核装置 |
|
电工电子技术实验台 |
|
初、中、高级及技师维修电工实训考核装置 |
|
电气控制综合实验装置 |
|
供配电技术实训装备 |
|
电工实训装置(单面双组型) |
|
电工电子模拟实训装置 |
|
低压电工电气装配实训台 |
|
电子装配工艺与检测实训装置 |
|
电工工艺(维修电工)试验台 |
|
电工电子电拖实训台 |
|
一体化电工电子技术创新设计综合应用实训装置 |
|
现代维修电工技术实训考核装置 |
|
铁道车辆电气检修实训室建设 |
|
电工实训工作台 |
|
电子技术技能实训考核台 |
|
电子学技术综合实验装置 |
|
维修电工电气控制实训装置 |
|
机床电气与PLC控制教学实验装置 |
|
维修电工技能考核实训装置 |
|
机电技术技能实训考核装置 |
|
电气装配实训装置(网孔板、双组型) |
|
电子产品设计与制作实训平台 |
|
电子单片机实训台 |
|
维修电工实训考核装置 |
|
电机控制及调速综合实训装置 |
|
电工电子自动化综合实训实验台 |
|
模电数电综合实验装置 |
|
电工模电数电综合实训平台 |
|
电气控制及电子技能实训考核装置 |
|
电气装配实训装置 |
|
网孔型电工电气装配实训台 |
|
维修电工实训考核装置(单面双工位) |
|
电子电工综合实验装置 |
|
电工电子综合实训平台 |
|
电工技能测试台 |
|
电工操作台、初级维修电工实训设备 |
|
维修电工实训设备 |
|
高级电工技能实训考核装置 |
|
电工电子技能及创新设计综合实训考核装置 |
|
电力拖动实验装置 |
|
电工电子技术实验台 |
|
高级电工技术实验台 |
|
电工综合实验装置 |
|
维修电工技能智能实训考核装置 |
|
机电技术技能实训考核装置 |
|
电工电子技能综合实训装置 |
|
通用电工竞赛训练平台 |
|
高级电工练功考核实训台 |
|
电工、电子、电力拖动、PLC、变频器、单片机、触摸屏实训台 |
|
电子技术综合实训装置 |
|
电子技术技能实训台 |
|
现代物流仓储自动化实验系统 |
|
电气线路安装实训装置 |
|
维修电工技术实训平台 |
|
电力电子技术应用实训装置 |
|
电工电子综合应用创新实训装置 |
|
电气照明设备安装调试技能实训装置 |
|
电气安装调试实训设备,电气安装调试实训装置 |
|
自动生产线装调与设计实训装置 |
|
互联网+现代电工电子技术实训装置 |
|
电工电子·电拖·PLC技术综合实训考核装置 |
|
电气设备安装调试技能实训装置 |
|
电工电子基础实验装置 |
|
电工电子技术基础实训考核平台 |
|
电气安装与维修实训装置 |
|
电机传动与控制实验装置 |
|
维修电工高级技师考核实训设备 |
|
电气控制PLC实训台 |
|
电气安装与维修实训考核装置 |
|
电气控制系统安装与调试实训设备 |
|
电机及电气技术实验装置 |
|
电气安装调试实训装置 |
|
通用电工电子电拖实验装置 |
|
电工电子实验装置 |
|
电机拖动及电气控制技术实训装置 |
|
电机拖动及运动控制综合实验台 |
|
机电综实训考核平台 |
|
电力拖动实验装置 |
|
全数字交流调速系统实验装置 |
|
直流调速技术实训装置 |
|
电机性能测试柜 |
|
机电控制综合实训平台 |
|
电机控制实训台 |
|
电机控制接线实验台 |
|
电机运动控制实训装置 |
|
电工电机拖动实训装置 |
|
电机装配与运行检测实训装置 |
|
电机电控配线安装实训装置 |
|
电机·变压器维修及检测实训装置 |
|
电机故障检测实训考核装置 |
|
变频器工作原理实训装置 |
|
维修电工技能实训考核装置(电气控制·PLC·变频器) |
|
高级电工技能实训考核装置 |
|
高级维修电工变频调速PLC可编程控制实训装置 |
|
电子产品工艺实训台 |
|
电子焊接技能实训平台 |
|
现代电工技术实训考核装置(柜式、双面型) |
|
高级电工电子实验装置 |
|
数字电子技术综合实训考核装置 |
|
模拟电路、数字电路实验平台 |
|
电子学综合实验装置 |
|
模拟电子电路实验装置 |
|
模拟电路应用创新实验平台 |
|
电子装配及焊接技能实训装置 |
|
电子焊接实训考核装置 |
|
电子焊接装配实训台 |
|
电子产品焊接与工艺实训台 |
|
电子工艺焊接装配生产线 |
|
电工电子创新综合实训装置 |
|
电子工艺实训考核装置 |
|
电子工艺实训考核装置 |
|
电子创新实验台 |
|
电子产品设计与装调实训考核装置 |
|
电力拖动一体化实训设备 |
|
网孔型电工电子电力拖动PLC可编程综合实训装置 |
|
网络型高性能电工电子技术实训与考核装置 |
|
智能电子电路综合实训台 |
|
电子(模电数电)技术综合应用创新实训考核装置 |
|
初中高级电工实训设备 |
|
理实一体化教室、电工电子技术实验台 |
|
电工电子综合实验装置 |
|
电子技术综合实训考核平台 |
|
电工实训考核装置 |
|
电工技能实训装置 |
|
电工技能实训台 |
|
电气系统安装与调试实训装置 |
|
电工技术实训室、电工技术实训室设备 |
|
电工基础实训台 |
|
电工实训考核装置,电工技术实训考核装置,网孔型电工实训考核设备 |
|
现代电气控制系统安装与调试实训考核装置 |
|
网孔型电气控制实训装置 |
|
在线智慧电子实验系统综合实训平台 |
|
电子产品装调与人工智能创新考核装置 |
|
电力电子技术应用创新设计综合实训装置 |
|
电子学综合实验装置 |
|
电工实训操作台(单面二组型) |
|
电工电子技术综合实训考核装置 |
|
电工电子自动化综合实验实训装置 |
|
电工电子电拖实验装置 |
|
电工技能鉴定实训装置 |
|
低压电气装配工技能实训考核装置 |
|
电工电拖综合实训装置 |
|
电工技术实训考核装置 |
|
机电综合实训考核平台 |
|
电工电子技术实验装置 |
|
电力拖动实训装置 |
|
轨道交通电力系统综合自动化技能实训考核平台 |
|
电力拖动一体化实训设备 |
|
电力系统综合自动化技能实训考核平台 |
|
电力系统微机保护综合实训装置 |
|
电力系统自动化实训平台 |
|
电气设备及二次部分实训考核装置 |
|
现代电力电子及交直流调速实验装置 |
|
电力电子技术实训装置 |
|
电机及电气技术实验装置 |
|
电机电力电子及电气控制技术实验装置 |
|
电机及电气技术实验装置 |
|
大功率直流调速系统实训考核装置 |
|
电机装配与运行检测实训考核设备 |
|
电机电力拖动及电气控制实训装置 |
|
电机拖动及自动控制系统实验台 |
|
电机及电气控制实验装置 |
|
电子技术综合实训装置 |
|
电子焊接装配实训台 |
|
电子创新综合实训平台 |
|
电工电拖综合实训平台 |
|
电机控制实验台、电机PLC控制实验装置 |
|
摇臂钻集合实验台,机床电气控制技能实训考核装置 |
|
电气控制实训平台 |
|
一体化网络型高级维修及技师电工技能培训考核实训装置 |
|
防爆电气控制技术技能培训考核实训装置 |
|
电机及拖动实验台 |
|
高级维修电工综合实训柜 |
|
电工操作实操台,网孔型电工技能实训考核装置 |
|
电气安装实训装置 |
|
电工电子综合应用创新实训装置 |
|
电机维修及检测实验装置 |
|
机电传动与控制实训装置 |
|
电机控制与调速实训装置 |
|
电力拖动电气控制实验装置 |
|
电工电气实训考核装置 |
|
电工电子实训台 |
|
电机拖动与调速系统实训装置 |
|
电子产品设计及制作生产线 |
|
电力系统微机保护综合实训设备 |
|
电子技术综合实验装置 |
|
电子技术综合实训平台 |
|
网孔型高级维修电工实训设备,网孔型中级维修电工实训设备,网孔型初级维修电工实训设备 |
|
高级电工电拖实训考核柜、中级电工电拖实训考核考核柜、初级电工电拖实训考核考核柜 |
|
高级维修电工实训室,中级维修电工实训室,初级维修电工实训室 |
|
电力拖动PLC变频调速综合实训装置 |
|
电力拖动实训台 |
|
电工基础及基本技能实训台 |
|
电机拖动实训设备 |
|
电子技术实验实训室设备 |
|
电工电子实训考核装置 |
|
高级电工电子电力拖动实验装置 |
|
供电技术实训装置 |
|
电力拖动与控制技术实训装置 |
|
电力电子及电气传动实验台 |
|
电力技术控制系统实训演示设备 |
|
高性能电工电子电力拖动综合实验装置 |
|
电力自动化仪表及过程控制实训平台 |
|
电力系统继电保护实验台 |
|
电气控制实训室设备 |
|
电气控制技术实验装置 |
|
维修电工实训考核装置 |
|
高级电工及技师维修电工实训考核装置 |
|
维修电工实训装置、维修电工技能操作台 |
|
高级维修电工考核实训台(单面双组型) |
|
电气安装与维修实训考核装置 |
|
电工电力电子实训平台 |
|
电力系统综合自动化实验平台 |
|
供配电所实训装置 |
|
变电二次安装工实训考核装置 |
|
工厂供电综合自动化实训装置 |
|
供配电实验室设备,电气工程综合实训设备 |
|
电工基本操作技术实训室设备 |
|
机电驱动实训设备 |
|
电子产品装配实训室 |
|
电气控制技能实训考核装置 |
|
电气安装与维修实训考核设备 |
|
电子焊接防静电实训台 |
|
电子产品装配与调试生产线 |
|
电子工艺实训考核装置 |
|
模拟电路实验装置 |
|
电机技术实验装置(交/直流发电机) |
|
电机与变压器综合实验装置 |
|
电力拖动.PLC技能实训装置,电力拖动、PLC实训装置 |
|
高级维修电工综合实训装置(附件)为竞赛考核平台 |
|
高级电工职业技能鉴定综合实训考核装置 |
|
电力自动化及继电保护实验装置 |
|
电力自动化及继电保护实验台 |
|
电力拖动(工厂电气控制)实验装置 |
|
初中级电工实训考核装置 |
|
高级电工技术实验台 |
|
电气智能控制PLC 技术实训装置 |
|
电力电子与电力传动专业课程 |
|
电力电子技术实验室设备 |
|
电气安装与维修实训考核装置 |
|
自动化综合实训装置 |
|
高级维修电工实训考核装置 |
|
电工实训考核装置简介,电气装配实训台注意事项 |
|
高性能高级维修电工技能培训考核装置 |
|
电子技术实训装置 |
|
电工电子技术创新设计综合应用实训装置 |
|
电气动力设备安装调试技能实训装置(高级) |
|
(初级)电气动力设备安装调试技能实训装置 |
|
(中级)电气动力设备安装调试技能实训装置 |
|
电气照明设备安装调试技能实训装置 |
|
高性能电工技术实验台 |
|
高低压配电实验实训装置 |
|
电工技术综合实验装置 |
|
数字电路应用创新实验平台 |
|
模拟电路实验装置 |
|
电工技能实训考核装置 |
|
高性能电工综合实验装置 |
|
高级电工实操柜,中级电工实操柜,初级电工实操柜 |
|
高级电工技术实训考核装置 |
|
中级电工技术实训考核装置 |
|
初级电工技术实训考核装置 |
|
通用电工技能综合实训装置 |
|
电工综合训练装置 |
|
电工实训装置 |
|
电工实验装置 |
|
电工电子综合实验装置 |
|
电工电子电拖实训装置 |
|
电工·电子技术实训装置 |
|
现代高级电工电拖实训考核设备 |
|
维修电工电气控制实训考核装置 |
|
仪表及照明单三相电机控制实训考核装置 |
|
高级电工综合实验装置 |
|
现代电气控制应用实训设备 |
|
通用电工实验台,通用电工技术实训台 |
|
通用电子实验台 |
|
通用电工电子实验台 |
|
通用电工电子电力拖动实验台 |
|
通用电工电子电力拖动带直流电机实验台 |
|
电工、电子、电力拖动(带直流电机、三相可调)实验装置 |
|
通用电力拖动实验室成套设备 |
|
通用电力拖动实验室成套设备(带直流电机实验) |
|
通用电工电子 电力拖动
直流电机实验室设备 (四合一) |
|
现代电气控制系统安装与调试实训装置 |
|
电工·电子·电拖创新实训室设备 |
|
现代电气控制综合实训装置 |
|
电工技术实验装置 |
|
立式电工电子实验装置 |
|
智能型电工电子技术实验装置 |
|
智能型电工、电子、电力拖动综合实验装置 |
|
智能型电工、电子、电力拖动综合实验装置(带PLC实验) |
|
智能型电工、电子/电拖、PLC、单片机综合实验装置 |
|
智能型电工、电子、电拖、PLC、变频调速综合实验装置 |
|
电子技术实训室、电子技术实训装置 |
|
电子焊接装配生产线 |
|
电子焊接工作台 |
|
电子工艺实训台 |
|
电子装配调试实训台 |
|
电子产品装调一体化创新实训装置 |
|
电气装配与工艺实训装置(单面双组型) |
|
电气装配实训台(单面双组型) |
|
机床PLC电气控制实训考核装置 |
|
电气装配实训台 |
|
电工技能训练与考核平台(网孔板、双组型) |
|
电气技能实训考核装置(单面双组型) |
|
高性能电工技术实验装置 |
|
高性能电工电拖实验装置 |
|
高性能电工、电子、电力拖动、PLC、变频器实训装置 |
|
高级电工技术实验台 |
|
高性能电工电子实验台 |
|
高级电工电子电拖综合实验台 |
|
维修电工技能实训考核装置(两面四组型) |
|
初级电工、电拖实训考核装置(柜式) |
|
中级电工、电拖实训考核装置(柜式) |
|
高级电工、电拖实训考核装置(柜式) |
|
高性能高级维修维修电工实训考核装置 |
维修电工电气控制及仪表照明电路综合实训考核装置 |
高级维修电工技能实训考核装置 |
仪表照明实训考核装置 |
高级维修电工实训考核装置 |
|
维修电工电气控制及仪表照明电路综合实训考核装置 |
|
高级技师维修电工实训考核装置 |
|
维修电工电气控制技能实训考核装置 |
|
中高级维修电工及技能培训考核实训装置(电工考证实训设备) |
|
高级电工实训考核鉴定装置 |
|
智能型现代电气控制实训考核装置 |
|
高性能初级维修电工及技能培训考核实训装置 |
|
高性能中级维修电工及技能培训考核实训装置 |
|
高性能高级维修电工及技能培训考核实训装置 |
|
电工电子综合应用创新实训装置 |
|
高级电工、电拖、PLC实训考核装置 |
|
高性能初、中、高级维修电工技能综合实训考核装置 |
|
电气照明接线实操考核平台 |
|
电气设备安装调试技能实训装置 |
|
自动加工与装配生产线实训考核设备 |
|
网孔型万能电气控制与及机床电路实训考核鉴定装置 |
|
机床电气技能实训考核鉴定装置 |
|
现代电气控制系统安装与调试实训考核装置 |
|
模电、数电、电力拖动实验台 |
|
维修电工实训考核柜(柜式、双面型) |
|
双面网孔板维修电工技能实训考核装置 |
|
高级电工电子实验装置 |
|
电工电拖实训平台 |
|
维修电工电气控制技能实训考核装置 |
|
维修电工通用型实训考核实训装置 |
|
维修电工排故培训考核装置 |
|
电工基本技能综合实训设备 |
|
维修电工实训装置(网孔板单面双组型) |
|
电工电子技术·电力拖动实训考核装置 |
|
通用电工电子电拖(带直流电机)实验台 |
|
电子技术实验教学平台 |
|
电子技术综合实训考核装置 |
|
电工电子技术实训考核装置 |
|
电工实训装置 |
|
电工电子实验装置 |
|
电工电子电力拖动实验装置 |
|
电工电子电力拖动实验装置(带PLC实验) |
|
电子产品装调与智能检测实训考核装置 |
|
电子产品装调与智能检测实训室专业建设方案 |
|
电子产品装调与人工智能创新考核装置 |
|
电子工艺实训考核装置 |
|
电子工艺综合实训装置 |
|
电子工艺实验考核装置 |
|
电工技能及工艺实训考核装置(网孔板) |
|
通用电工电子技术及电力拖动实验台 |
|
电子产品焊接装配实训台 |
|
中级维修电工实训台 |
|
初级维修电工实训学生台 |
|
电子实验室设备 |
|
电工电子综合实验平台 |
|
模电数电技术实验台 |
|
电机电力电子与交直流调速实验台、电机电力电子与电气传动技术实验装置
|
|
智能变配电系统实验开发平台 |
|
高级维修电工及技师技能实训考核装置 |
|
高低压配电实验实训装置 |
|
低压供配电技术实训设备 |
|
低压配电成套实训装置 |
|
低压配电操作实训室设备 |
|
工厂供电综合自动化实训系统 |
|
工厂供电技术实训装置 |
|
35kV变电站及10kV供配电系统倒闸操作屏 |
|
变配电室值班电工技能培训考核系统 |
|
供配电所实训装置 |
|
智能供配电实训装置 |
|
变电站综合自动化实训系统 |
|
电力系统继电保护综合实验装置 |
|
电力系统继电保护与自动化实训装置 |
|
电力系统微机线路保护实训考核装置 |
|
电力系统继电保护工培训考核平台 |
|
电力系统自动化实训平台 |
|
电力系统继电保护与自动化实训装置 |
|
电力系统继电特性及继电保护实验装置 |
|
电机及自动控制实验装置 |
|
高级维修电工实训设备 |
|
中级维修电工实训考核装置 |
|
维修电工中级技能实训设备 |
|
高性能初级维修电工技能实训装置 |
|
电气安装与维修实训考核装置 |
|
电气动力设备安装调试技能实训装置 |
|
电工电气维修实训台 |
|
维修电工与PLC实训考核装置(双工位) |
|
电气系统安装与调试实训装置 |
|
维修电工技能实训考核台 |
|
高级技师维修电工实训装置 |
|
维修电工技师、高级技师技能实训考核装置 |
|
维修电工仪表照明实训考核装置 |
|
维修电工电气控制及仪表照明电路综合实训考核装置 |
|
维修电工电气控制技能实训考核装置 |
|
电工实训操作实操台 |
|
安全用电实训考核装置 |
|
技术安全检查实训装置 |
|
新能源发电实训设备 |
|
电工、模电、数电、微机接口及微机应用实验设备(适用于高校、大专、职业学院)
更多产品>> |
|
电力电子技术及数模电综合实验台 |
|
电工、模电、数电实验室设备 |
|
模拟 数字电子电路微机接口
微机应用综合实验室设备 |
|
信号与系统·控制理论·计算机控制技术实验台 |
|
模电、数电、通信原理教学实验装置综合实验台 |
|
模电、数电、现代通讯原理实验室成套设备 |
|
高级模电、数电综合实验台 |
|
模电、数电、高频电路综合实验台 |
|
模电、数电、自动控制综合实验台 |
|
模电、数电、单片机实验开发系统综合实验台 |
|
电工实验室成套设备 |
|
电工实验台 |
|
电工、模电、数电、电气控制综合实验室成套设备 |
|
模电.数电实验台 |
|
电工、模电、数电实验台(三合一) |
|
电工、模电、数电、电气控制实验台(四合一) |
|
电工、模电、数电、电气控制(带直流电机)实验台(五合一) |
|
电机拖动及电力电子技术创新实验实训装置 |
|
电力电子技术及电气传动实训装置 |
|
电力电子电气自动控制技术实训装置 |
|
电力电子及交直流调速实验装置 |
|
电机及电气技术实验装置 |
|
电力电子实训装置 |
|
电力电子技术实验台 |
|
电力电子基础实训台 |
|
电力电子技术实训台 |
|
电力电子技术实训装置 |
|
电力电子及电机拖动综合实验装置 |
|
电力电子技术及电机控制实验装置 |
|
电力电子及电气传动实训装置 |
|
电力电子技术实验装置 |
|
电机控制及照明实训柜 |
|
电力自动化及继电保护实验装置 |
|
DSP原理及电机调速实验系统 |
|
现代电工技术实训考核装置 |
|
现代电力电子技术实验设备 |
|
电工电子电气技术实训装置 |
|
电机拖动及电气控制技术实验装置 |
|
电机维修及检测实训装置,控制微电机综合实验装置,电机拖动实训设备 |
|
电机原理及电机拖动实验系统 |
|
交直流调速实训装置 |
|
电机维修及检测实训设备 |
|
机电综实训PLC考核平台 |
|
电机拖动实验台 |
|
电机及电气技术实验装置 |
|
电气动力设备安装调试技能实训装置 |
|
电力电子电机拖动综合实验台 |
|
电机控制与调速综合实训装置 |
|
电力电子技术及电机控制实验装置 |
|
电工电子综合应用创新实训装置装置 |
|
电力拖动实训装置 |
|
电工电子相关实验教学设备 |
|
电子装配实训台,电子基本技能实训设备 |
|
电机及电气技术实验装置 |
|
电力电子技术实训装置 |
|
电子技术综合实训考核装置 |
|
电子、单片机技术综合实训考核装置 |
|
电子技术及传感器综合实训装置 |
|
电子技术综合实训平台 |
|
电子应用技能实训考核装置 |
|
电工技术实训装置 |
|
电工电子技术实验台 |
|
电工、模电、数电、电力拖动(带直流电机)实验与实训考核台、电工维修实训设备 更多产品>> |
|
模电、数电实验与技能实训考核台 |
|
电工、模电、数电实验与技能实训考核台 |
|
通用电工、电子、电拖实验与电工、电子、电拖技能实训考核实验室设备 |
|
电工、模电、数电、电力拖动(带直流电机)实验与技能实训考核实验室设备 |
|
电工、模拟、数字、电力拖动综合实验装置 |
|
电工技能实训与考核实验室成套设备 |
|
电工·模电·数电·电拖·单片机·PLC·传感器技术综合实训考核装置 |
|
电工、模电、数电、电气控制、PLC可编程控制综合实验装置 |
|
电工、电子、电拖(带直流电机)实验与电工、电子、电拖技能实训考核实验室设备 |
|
电气装配与工艺实训台 |
|
网孔型电工电子技能及工艺实训考核装置 |
|
网孔型电力拖动(工厂电气控制)技能及工艺实训考核装置 |
|
维修电工仪表照明实训考核装置 |
|
初级工实训台、中高工实训台、高级工实训台 |
|
高性能电工电子技术实训考核装置 |
|
高性能电工、电子、电力拖动技术实训考核装置 |
|
电力拖动工厂电气控制技能及工艺实训考核装置、网孔型电工电子电力拖动变频调速PLC装置 |
|
高性能电工电子电拖及自动化技术实训与考核装置 |
|
高性能电工技术实训考核装置、高性能电工电子技术实训考核装置、高性能电工电子电力拖动技术实训考核装置 |
|
电子技术综合实训考核装置,电工电子技术实训考核装置,电工电子技术·电力拖动实训考核装置 |
|
电力拖动·PLC技能实训装置、电力拖动技能实训考核装置 |
|
单片机实验箱 |
|
信号与系统/DSP实验箱 |
|
单片机同步互动实验系统 |
|
数字、模拟电路同步互动教学系统 |
|
电路分析基础课程设计实验室设备 |
|
电路原理与模拟电路综合实验箱 |
|
数字电路、EDA技术实验设计系统 |
|
SAE数电/摸电/EDA综合实验系统 |
|
三相电路的实验箱 |
|
电子测量实验箱 |
|
电工电路技术实验箱 |
|
太阳能教学实验箱 |
|
8086KB微机原理与接口实验箱 |
|
自控原理及计算机控制技术教学实验箱 |
|
新型计算机组成原理实验箱 |
|
计算机组成原理基础实验箱 |
|
计算机设计综合技能试验箱 |
|
A865微机原理与单片机实验箱 |
|
微机控制与仿真实验实训室 |
|
嵌入式实验开发系统 |
|
创新型模块化模拟电路实验箱 |
|
增强型电子线路综合实验箱 |
|
数字电子技术实验箱 |
|
模拟电子技术实验箱 |
|
数字电子技术实验箱,设计型(基础型) |
|
微机原理与接口技术,计算机控制技术课程 |
|
创新单片机实训箱 |
|
EDA实验箱 |
|
EDA实训室、EDA实验开发箱 |
|
FPGA教学开发创新平台 |
|
E207EDA设计技术实验箱 |
|
E216SOPC系统综合开发平台 |
|
超强型计算机组成原理与系统结构实验箱 |
|
高频电路实验箱 |
|
综合电路原理实验箱 |
|
电路原理实训室设备 |
|
EMCU模块化多CPU创新单片机实训实验箱 |
|
单片机嵌入式实验系统 |
|
新型单片机实验箱 |
|
8-32位微机原理接口实验系统 |
|
集成一体化单片机、微机接口综合实验箱 |
|
多种单片机、微机接口与组态综合实验系统 |
|
51单片机实验箱 |
|
STM32单片机实验箱 |
|
单片机与组态综合实验系统 |
|
单片机与MCGS组态综合实验系统 |
|
单片机、微机原理及接口技术二合一实验箱 |
|
自控原理实验箱 |
|
自控计控原理实验系统 |
|
自控原理与计算机控制实验箱 |
|
超强型计算机组成原理实验箱 |
|
计算机组成原理与系统结构实验箱 |
|
微机原理与接口技术实验室 |
|
数字模拟电路实验箱 |
|
模拟电路实验箱(含信号源) |
|
模拟电路实验箱 |
|
数字电路实验箱 |
|
数字模拟电路实验箱 |
|
数字电路、模拟电路综合实验箱 |
|
电工技术实验箱 |
|
电子技术实验箱 |
|
电路原理实验箱、数字电路实验箱 |
|
模拟电路技术实验箱、数字电路技术实验箱、电工技术实验箱 |
|
电路分析基础实验 |
|
电路分析实验箱、电路原理实验箱 |
|
运动控制实训平台、CPTH超强型计算机组成原理与系统结构实验仪 |
|
信号与系统实验平台 |
|
信号与系统及数字信号处理平台 |
|
通信教学实验系统 |
|
移动通信系统 |
|
现代交换系统方案 |
|
数字通信技术实验系统方案 |
|
通信原理实验系统方案 |
|
通信与信号处理实验箱 |
|
通信系统创新实验平台 |
|
信号与系统控制理论实验装置 |
|
信号与系统综合实验箱 |
|
移动通信系统、通信原理实验平台 |
|
程控交换综合实验箱 |
|
通信系统原理实验箱 |
|
光纤通信教学实验系统 |
|
光纤通信综合实验箱 |
|
高频电子线路实验箱
|
|
通信原理综合实验箱 |
|
现代通信技术实验平台 |
|
通信原理实验箱 |
|
PLC可编程控制器实验箱 |
|
电子实验箱,模拟电子实验箱,通信原理实验箱 |
|
交流电路实验箱 |
|
直流电路实验箱 |
|
单片机实验箱 |
|
创新单片机实训实验箱 |
|
数字、模拟、电路分析综合实验箱 |
|
智能通用电工、电子、电力拖动实验室设备(适用高校、专科、职业学院、中专、技校、职校 ) |
|
电工、电子、电拖(带直流电机)技能实训与考核实验室设备 |
|
通用电工电子电拖(带直流电机)实验台 |
|
电工电子电拖直流电机实训台 |
|
通用型电工电子实验台 |
|
电工电子电拖实训台 |
|
电力拖动实训平台 |
|
电机拖动及控制实训设备 |
|
电机与拖动实验室设备及装置 |
|
通用智能型电子实验与技能实训考核台 |
|
通用智能型电工实验和电工技能实训考核台 |
|
通用电子实验与电子技能实训考核实验室设备 |
|
通用智能型电工、电子、电拖实验与技能实训考核台 |
|
电工、电子、电力拖动(带直流电机)技能实训考核台、维修电工实设备 更多产品>> |
|
电工电子技术实训装置 |
|
电工技能实训考核台 |
|
电子技能实训考核台 |
|
电工、电子技能实训考核台 |
|
电工、电子、电力拖动技能实训考核台 |
|
电工、电子、电力拖动(带直流电机)技能实训考核台 |
|
电气控制实训装置(单面双组型) |
|
电气实验实训室,主要服务机械制造自动化、电工维修考核设备 更多产品>> |
|
智能电工技术实验装置 |
|
SB-528立式电工实验台 |
|
SB-528立式电工、模电、数电实验台 |
|
SB-528立式电工、模电、数电、电气控制实验台 |
|
SB-528立式电工、模电、数电、电气控制(带直流电机)实验台 |
|
SB-528E立式电工·模电·数电·单片机综合实验装置 |
|
立式电工·模电·数电·电气控制·PLC可编程控制综合实验装置 |
|
智能型电工电子电拖PLC单片机综合实验装置 |
|
电工电子及电力拖动综合应用创新实训装置 |
|
电力拖动(工厂电气控制)实验装置 |
|
高级电工实验室成套设备(带功率表、功率因数表) |
|
高级模电、数电实验室成套设备 |